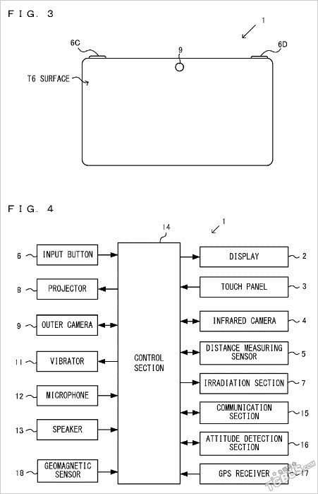
早在2014年9月,任天堂在日本专利局为其手持设备与远红外传感器互动申请专利,近日这些专利在西方媒体中被披露出来。
第一项专利是用户的手如何被检测到,第二第三项专利类似,强调如何利用手势触发设备振动以及声音。红外摄像机和距离传感器,手势识别,距离测量都是专利的一部分。这些专利都是很早时间注册,现在披露出来,尚不清楚是否与NX有关,进一步的消息还需要等任天堂官方进行发布。(来源:tgbus)
热门资讯
HOT NEWS
热门视频
HOT VIDEOS
《英雄联盟》2026年S1赛季CG来了!为了德玛西亚
顶级售后!Faker名人堂皮肤再次获得更新 五冠变六冠
《DOTA2》2026年国际邀请赛将在中国上海举办
《英雄联盟》暮光试炼版本更新计划 妖姬又要搞事
原创推荐
Original
成千上万名设计师制作不一样的英雄联盟
CS2更新是否达预期?从引擎迭代到内容节奏,解析两年发展脉络
11月12日 16:22
媒体分析:2024年的巅峰NAVI,为何今年风光不再?
11月06日 08:02
友情链接
官方微信
网上冲浪记事官方微信
分享联系
yys@dj.sina.cn