就在苹果9月新品发布活动召开的本周二,一份苹果于2015年1月30日申请的专利文件被公开。“Glass enclosure”专利文件描述了一项能够让移动设备实现曲面玻璃外壳制造工艺的技术,这项技术如果应用于未来的iPhone中,很有可能实现如效果图 般令人惊艳的效果。 结合关于iPhone 7可信度极高的两项传闻新特性-取消耳机孔和去除实体Home键,或许iPhone 8真能实现曲面全玻璃机身的经验效果,机身无任何实体按键,提供更佳的防水等级。

专利文档描述了如何直接利用玻璃制造移动设备机身的工艺。
苹果描述道“玻璃材质形成结构体作为机身的手持计算设备,同时机身能够穿透天线电波信号”“外壳可由单一空心玻璃管或者两个玻璃结构体固定后形成。激光玻璃连续熔炼工艺可用于将两个玻璃结构体密封合并,形成一个完全防水的电子设备。”
苹果还进一步解释称全玻璃外壳移动设备能够内置用于无线通讯的天线设备。高强度的玻璃结构体能够让手机防水并耐划,玻璃外壳为一个整体,而非像iPhone4或Galaxy 6/7一样分成两部分。
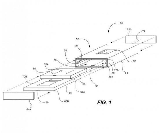
下图中的52固定框体包含在完整的玻璃形成的54结构主体中,能够容纳各种电子设备。FIG.1图示中的54结构主体仅为示意,实际上可塑造成曲面外观。这意味着玻璃整体包围是一个无缝且连续完整的曲面玻璃外壳,顶部和底部由特殊封盖密封形成一个设备。


在专利文件中,苹果特别明确地在描述中指出这项技术适用于“移动手机”设备的打造,具备“美学愉悦”的外观特性。当然,这仅仅是一项技术专利文件,并无任何明确证据显示新技术会在即将投产的未来机型上使用。
来源:cnBeta.COM 编辑:MI
热门资讯
HOT NEWS
热门视频
HOT VIDEOS
原创推荐
Original