任天堂Switch还有大招没公开?竟有体感投影

2016-10-25 15:52作者:新浪电竞来源:

  【新浪游戏独家整理报道 未经许可请勿转载

  任天堂终于公开了NX主机的正式面目,名叫Switch。有一块平板和两个可以组合的手柄以及一个底座组成。不过根据网络上爆出任天堂注册过的专利来看,新主机还有一些预告片里未提及的功能。

任天堂Switch还有大招没公开?任天堂Switch还有大招没公开?

  根据专利,任天堂Switch将内置陀螺仪,GPS,触摸屏,指南针,动作捕捉,图像识别,以及可以将图像投射到平滑的表面或是手掌的能力。Switch的手柄还可以和电视关联,变身电视遥控器。

  根据任天堂在10月份注册的专利透露了这些未公开的功能。需要注意的是申请了注册专利并不代表一定会实现,毕竟有些想法在实际应用的时候或许会被放弃。

任天堂为Switch申请的专利任天堂为Switch申请的专利

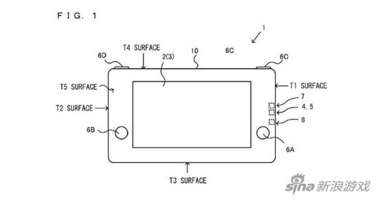
  根据专利描述,Switch还有更多的功能。比如在任天堂1月份注册的专利里,详细描述了这台设备的输入和输出方式。设备拥有一个可以脱离的控制器,震动马达,麦克风,扩音器,地磁指南针,摄像头和GPS接收器。

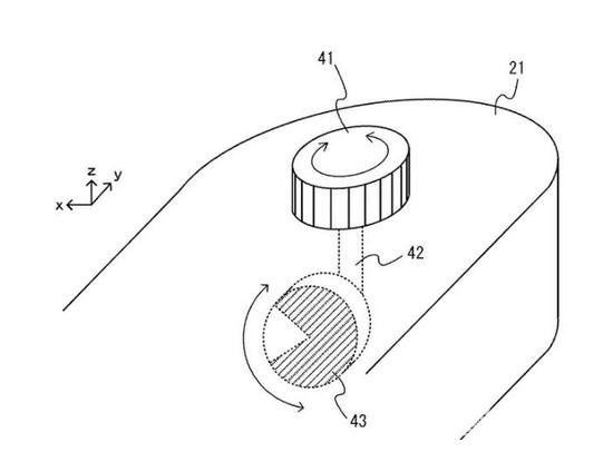
  更有意思的是在专利图上,平板右侧的圆形部件。这个圆形包含一个红外线摄像头,发光测距传感器,一个红外线发射器和一个投射器。这个圆形部件可以侦测动作,形体和姿势,并且将图像投射在屏幕或是用户的手上。

  另外三项专利分别是2015年9月申请,今年3月公开,2月申请8月公开以及1月申请8月公开。进一步介绍了动作侦测如何在游戏里使用。在一个案例中,这项专利可以识别玩家的手掌通过设备摄像头来玩剪刀石头布。另一些例子包括:

  • - 通过伸出正确数量的手指回答算数问题
  • - 通过用手移动到设备边缘来控制屏幕里一条蛇的移动
  • - 开车
  • - 从设备向玩家手掌投射一副图像或是颜色
  • - 侦测玩家手里握着的物体
  • - 通过手势,将投射到手掌里的虚拟棒球扔回到游戏里。 (或是抓住从屏幕里投射出来的球。)
专利显示Switch拥有投射图像并且与之互动的功能专利显示Switch拥有投射图像并且与之互动的功能

  投射图像这个功能作为所有Switch主机专利里最有意思的一项并没有做特别详细的介绍。根据专利介绍,设备里的摄像头和传感器还可以用来与不同种类的控制器做关联认证,暗示Switch或许会有不同的控制器类型。在一项专利的举例中,有一个带有旋钮的控制器图片。

Switch或许有不同类型的手柄Switch或许有不同类型的手柄

  在官方放出的Switch首段预告片里,并无法看出任何支持或是不支持这些专利的内容。不过专利中提到在设备背部装有摄像头,这点在预告片里的Switch上似乎没有看到。

任天堂Switch主机官方图任天堂Switch主机官方图

  同时也无法看出是否有触摸屏或是体感控制,一切只能等待官方的进一步公开说明了。作为玩家你是否对上面提到的这些想法感兴趣呢?投射画面并且互动的想法很黑科技啊!(编辑:Sen)

官方微信

网上冲浪记事官方微信